北京2宗地收金53.17亿元,山西建投13.04亿摘通州宋庄地块

10月18日,山西建投13.04亿竞得北京通州区宋庄镇双埠头村、大庞村、大兴庄村土地一级开发项目TZ03-0403-6023、6028地块,溢价率1.1%,住宅楼面价约22800元/平方米,销售指导价4.7万/平方米。

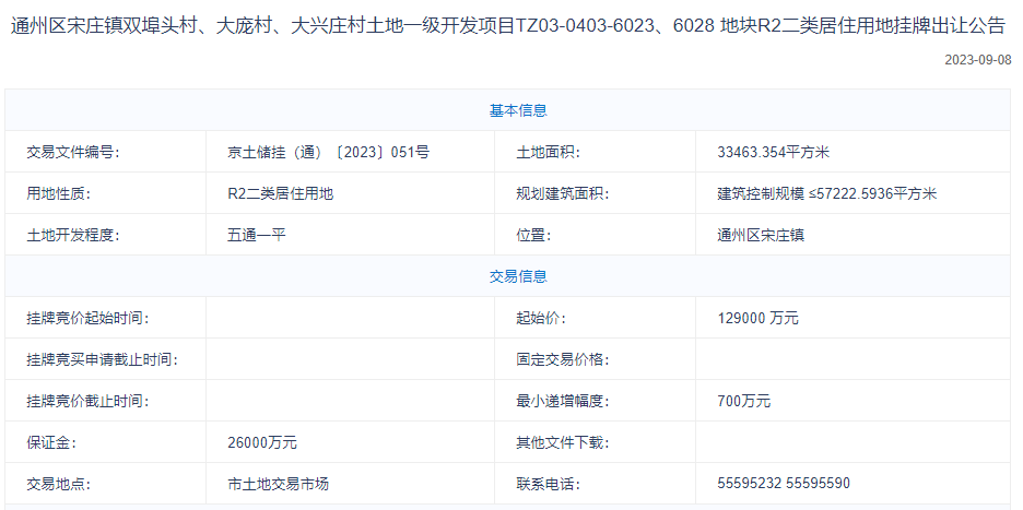
该宗地起始价2.9亿元,建控规模57222.5936平方米,土地面积33463.354平方米,为R2二类居住用地,住宅用地容积率1.6/1.8、控高36米。

早前,东方雨虹40.135亿元竞得北京市丰台区南苑棚户区改造一期项目A地块东区,溢价率15%,住宅楼面价约48900元/平方米。

至此,北京今日出让两宗地总收金53.175亿元。

13.04亿!山西建投竞得通州宋庄6023等地块

本月竞拍地块7个,今天开拍的有两宗,分别是丰台区南苑棚户区改造一期项目A地块东区和通州区宋庄镇双埠头村、大庞村、大兴庄村土地一级开发项目TZ03-0403-6023、6028 地块。

其中,2家企业报名参加通州区宋庄镇双埠头村、大庞村、大兴庄村土地一级开发项目TZ03-0403-6023、6028地块的竞拍,分别是1.山西建投,2.厦门国贸。最终,由山西建投以13.04亿+1.09%溢价率竞得该地块。

地块起始价12.9亿,低容积率1.6/1.8,未来可以做低密度洋房产品。

指导价4.7万/㎡,浮动±8%。

隔壁2021年供地的金地北京壹街区项目,同样的容积率,指导价为4.5万元/㎡,和该地块相比,每平增长了2000元起。

「金地北京壹街区」,户型面积段为73-78㎡二居,125-143㎡四居,85-109㎡三居。

地块周边配套正迅速发展中~~

未来的街区生活中,90%以上的生活所需,步行可达。

自城市副中心落位通州后,宋庄明确“世界级艺术创意小镇”的形象,各类配套规划逐步配齐。动作最快的是教育和医疗类---

5公里生活圈内,友谊医院通州院区(三甲)已开诊,北京安贞医院通州院区、首都儿研所(通州院区),按照规划都将于明年投入使用。



10月18日,通州宋庄6023等地块进行现场竞价。最终,山西建投13.04亿竞得该地块,成交楼面价约2.28万/㎡,溢价率1.09%。

截止10月17日17:00,地块共山西建投、厦门国贸两家房企报名。

根据挂牌文件信息,通州区宋庄镇双埠头村、大庞村、大兴庄村土地一级开发项目TZ03-0403-6023、6028地块,土地面积33463.354㎡,建筑控制规模≤57222.5936㎡,用地性质为R2二类居住用地,交易起始价12.9亿元,将以“五通一平”形式供地,具体位置如下:

从控规来看,6023、6028两宗地块并不相邻,好在容积率不高,分别为1.8、1.6,控高同为36米,未来大概率是洋房+小高层的低密社区。

地块位于通州宋庄板块,新房供应一直较少,东侧为2021年首批集中供地成交的项目金地·北京壹街区,指导价4.5万/㎡,截至8月项目网签已超6成,区域可选余量日渐减少。相比之下,新地块平均每平上涨2000元,期房4.7万/㎡,现房4.9万/㎡。未来项目入市可补足区域供应。

需要注意的是,6023、6028地块需新建建筑面积约25㎡分布式能源站一座;新建社区办公和活动用房面积达到500㎡。6023地块内还需新建建筑规模约560㎡锅炉房。实际住宅建筑规模约在5.61万㎡,若参考金地项目面积段,以平均建面约120㎡计算,未来房源数约不到470套,整体体量并不大。

配套方面,地块位于东六环外,附近有北京理工大学附属中学通州校区、北京市实验外国语学校通州分校、通州区宋庄镇中心小学等教育资源;还有宋庄艺术区、欢乐宋生活广场、东郊森林公园、北京安贞医院通州院区(在建)等生活配套,可以满足人们的生活需求。

本次挂牌出让宗地设定土地合理上限价格14.835亿元,当竞买报价达到土地合理上限价格时,则不再接受更高报价,转为在此价格的基础上现场竞报“现房销售”面积程序,起始竞报“现房销售”面积为1000平方米,同时本次出让宗地设定有“现房销售”面积上限1.2万平方米,当现场竞报“现房销售”面积达到设定的上限面积时,转为现场摇号方式确定竞得人,参与现场摇号的竞买人须提交《高标准住宅建设承诺书》。(关于距离描述,仅作参考,以官方实际测量为准)

10月18日,山西建投城市运营集团京津冀区域公司成功摘得北京市通州区宋庄TZ03-0403-6023、6028地块,中标金额约13.04亿元,溢价率约1.1%。

实至名归 山西建投成功摘得北京通州地块

公开资料显示,该宗地为通州区宋庄镇双埠头村、大庞村、大兴庄村土地一级开发项目TZ03-0403-6023、6028地块,用地性质为R2二类居住用地,位于北京市通州区宋庄镇,四至范围为:宋庄镇小堡艺术区北侧,东至徐宋路,西至规划道路,南至规划防护绿地用地,北至规划道路,土地面积约33463.354平方米,建筑控制规模约57222.5936平方米。交易起始价12.9亿元。

TZ03-0403-6023地块需新建建筑规模约560平方米锅炉房。TZ03-0403-6023、6028地块需新建建筑面积约25平方米分布式能源站一座;新建社区办公和活动用房面积达到500平方米。

配套方面,地块位于东六环外,附近有北京理工大学附属中学通州校区、北京市实验外国语学校通州分校、通州区宋庄镇中心小学等教育资源;还有宋庄艺术区、欢乐宋生活广场、东郊森林公园、北京安贞医院通州院区(在建)等生活配套,可以满足人们的生活需求。

实至名归 山西建投成功摘得北京通州地块

实至名归 山西建投成功摘得北京通州地块

此次进军北京,是山西建投扩大阵地、实施京津冀发展战略的重要布局,是在竞争激烈的市场环境中尝试区域开发的创新探索,开启了城市发展的新纪元。

山西建投将以国企品牌的实力,鼎立北京副中心大发展的潮头,以京晋同源的发展驱动力,充分展现晋商开拓进取的精神,乘势而上,顺应人民群众对美好生活的向往。